Softline 82 MD
System profili SOFTLINE 82 MD może być stosowany do produkcji energooszczędnych, nowoczesnych okien z PVC, które optymalizują bilans energetyczny każdego budynku. To doskonały wybór do domów niskoenergetycznych i pasywnych. Profile SOFTLINE 82 MD charakteryzują się wyjątkową trwałością, stabilnością i bezpieczeństwem. Nawet w przypadku dużych konstrukcji tarasowych elegancki design SOFTILE 82 MD oferuje wąskie profile profile SOFTLINE 82 MD mogą być wąskie, dzięki czemu przeszklenia są proporcjonalnie większe. W profilach SOFTLINE 82 MD poza fabrycznie montowanymi dwiema uszczelkami – zewnętrzną i wewnętrzną – jest dodatkowo uszczelka środkowa. To poprawia parametry ochrony akustycznej i termicznej.

Uw = 0,74 W/m²K
IZOLACJA CIEPLNA
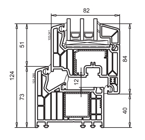
DO 52mm
SZKLENIE
82 mm
GŁĘBOKOŚĆ PROFILI
114 mm
WYSOKOŚĆ ZŁOŻENIA – OŚCIEŻNICA/SKRZYDŁO

zalety VeKA Softline 82 MD
Systemy profili VEKA są dostępne w wielu wariantach wykończenia powierzchni, a także szerokiej palecie kolorów. Poczynając od klasycznej bieli po modne kolory, jak grafit czy zieleń, a kończąc na strukturach i barwach drewna oraz metalu.
Dostępne są także w wersji z aluminiowymi okładzinami. Wyjątkowo, ekskluzywna wersja wykończenia powierzchni PVC oferowana jedynie przez VEKA to SPECTRAL. Niezależnie od rodzaju wykończenia profili czy ich designu, są one najwyższej jakości, trwałe, odporne na trudne warunki atmosferyczne i łatwe do utrzymania w czystości.
Wzornictwo
Neutralne wzornictwo pozwala dopasować profile Softline 82 MD do każdego typu architektury. Nadają się one do gięcia, więc można je zastosować np. do okien łukowych.
Profile są do wyboru w kilkudziesięciu wariantach. Białe, kolorowe (również matowe), wzory drewnopodobne, imitujące metal. Okleinowane jedno- lub dwustronnie. VEKA oferuje też profile Softline 82 MD w wersji z szarym nośnikiem obustronnie foliowanym. Dzięki temu okno jest jednolite, elegancko wykończone. Na profile można nakładać aluminiowe osłony, lakierowane proszkowo na dowolny kolor.

VEKA Fine Structure
Nowa linia dekoracyjnych folii VEKA Fine Structure to innowacyjne rozwiązanie, które przynosi jeszcze więcej możliwości aranżacyjnych dla okien PVC o kolorowych powierzchniach. Dzięki delikatnej strukturze i matowemu wykończeniu, światło rozpraszane jest w różnych kierunkach, tworząc unikalny efekt wizualny.



