Veka
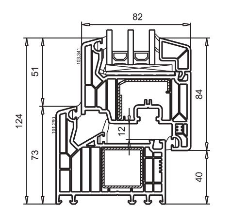
SOFTLINE 82 MD
L’innovativo sistema per le esigenze
del futuro.
La robusta struttura dei profili estrusi
in classe A, combinata con l’utilizzo di
rinforzi in acciaio di opportuna
dimensione e geometria, assicurano
una grande affidibilita nel tempo,
anche in caso di infissi di grandi
dimensioni.


Profilo Softline 82MD e’ sopratutto la qualita altissima, apprezzata da tutti nostri
clienti. La sua costruzione ha tre guarnizioni, offre maggior isolamento termico,
acustico e ottimo risparmio energetico. Il sistema e’ ideale per la ristrutturazione e
per la costruzione nuova.
I ventaggi Softline 82MD:
- trasmitanza termica fino a Uw=0,74 W/m²K usando tripla lastra
-spessore della parete con il massimo standard di qualita conforma a RAL
Classe “A” – profilo in Classe S, certificato per utilizzo anche in zona clima severo,
-di facile pulizia - elevata tenuta delle finestre al vento, alla piogia, e alle polvere
